欢迎访问山东万辰试验机有限公司官网!
目前,在家具制造过程中,全部使用纯木板的已经很少,而代之以各种人造板材。这些人造板材的特点和使用范围各不相同,种类也很多,常用的有胶合板、刨花板、纤维板、中密度纤维板以及保丽板、华丽板、防火板(塑料贴面板)等装饰的各种装饰人造板。其理化性能是重要的产品性能,在产品质量管控中是必检的项目。

表面胶合强度:是指板表面层的刨花或纤维与下层材料之间(未饰面板)或饰面材料与基材之间(饰面板)的粘接强度或粘接质量,用表面层垂直于板面最大破坏拉力与试件胶合面积之比表示
此方案适用于各种人造板及饰面人造板表面胶合强度性能的测定。
有关人造板及饰面人造板表面胶合强度的测试方法主要依据为GB/T 17657-2013 人造板及饰面人造板理化性能试验方法中规定进行相关测试。
我们推荐使用电子万能试验机(含30KN的载荷传感器)和人造板表面胶合强度夹具,再用材料测试试验软件,就可以进行人造板及饰面人造板表面胶合强度试验了。
电子万能试验机下空间为试验空间,方便更换夹具和安装试样,手动控制盒可一键开始试验,提高了试验效率。
夹具:我们推荐使用人造板表面胶合强度夹具进行试样测试
表面胶合强度方法1
此方法适用于未饰面的刨花板,纤维板,水泥刨花板以及非单板饰面的人造板

试样厚度≥ 15mm
试样厚度≤10mm
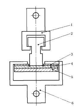
1.夹具上半部 2.卡头 3试样 4 夹具下半部分 5.钢垫片 6 钢板
夹具名称:人造板表面结合强度测试夹具
最大试验力:10kN
表面胶合强度方法2
此方法适用于单板饰面的人造板

1.夹具上半部 2.卡头3.钢垫片4.试样 5. 钢板6.夹具下半部分
夹具名称:人造板表面胶合强度拉伸夹具
最大试验力:10kN
材料测试试验软件:

可根据GB/T 17657-2013标准编辑人造板表面胶合强度的试验方案,定义试验起始条件,以60s达到最大负荷的速度去试验。软件自动读取试片承受的最大负荷,自动计算表面胶合强度值,并输出满足标准要求的试验报告。


微信客服

微信公众号
Copyright 山东万辰试验机有限公司 鲁ICP备14026932号
15550432072
